CN.HAOSTAR昊星JM胶体磨:多功能胶体磨简称:胶体磨,又名:研磨机、多功能研磨机、超微磨浆机、乳化胶体磨、高效混合胶体磨机、研磨泵、沥青胶体磨、胶体泵。JM(CM)系列按型式分别为:立式胶体磨、分体式胶体磨、卧式胶体磨、立卧式式胶体磨、阿法拉法式胶体磨、封闭式胶体磨、管线式胶体磨。JM(CM)系列胶体磨(JTM、JM中文Jiao Ti Mo缩写;CM英文Colloid Mill缩写)按类型分别为:普通型胶体磨、精品型胶体磨、出口型胶体磨、全不锈钢型胶体磨、实验室型胶体磨(小型胶体磨)、中试型胶体磨、工业型胶体磨(大型胶体磨、特大型胶体磨)、特殊型胶体磨(钛白专用型胶体磨,白炭黑胶体磨-打浆泵)特殊胶体磨: 油煤浆胶体磨研磨泵:脱色剂胶体磨、脱味剂胶体磨、乳化剂胶体磨、催化剂胶体磨、降凝剂胶体磨、降粘剂胶体磨、分散混合胶体磨、高速剪切胶体磨、煤焦油胶体磨、重油胶体磨、柴油胶体磨、脱色剂研磨泵、脱味剂研磨泵、乳化剂研磨泵、催化剂研磨泵、降凝剂研磨泵、降粘剂研磨泵、分散混合胶体研磨泵、高速剪切研磨泵、煤焦油研磨泵、重油研磨泵、柴油研磨泵、乳化胶磨机、均质打浆泵、高剪切分散均化机、胶体均化机、包谷酒糟研磨泵机酒糟(湿法)酒糟胶体磨、分体式胶体磨、管线式胶体磨、封闭式胶体磨、卧式胶体磨、高剪切胶体磨、耐腐耐磨研磨泵和新型胶体磨成套设备:白炭黑胶体磨机,多功能管线式钛白粉研磨机,钛白粉用微细连续胶体磨,超硬质合金钢研磨泵,多功能高剪切均质研磨机组,钛白炭黑湿式超微粒后处理成套设备,全自动水粉混合乳化研磨涂料成套设备等湿法超微米级粉碎机械、流体和半流体设备,我公司有20多年制造经验、历史悠久、工艺精湛、技术雄厚、品质超群、性能卓越、久享盛誉,新型实用,外形新颖,环保节能,价格优惠,体积小,效益高等特点。让你的系统更可靠,更卫生,更静,更省电。深得海内外客商的青睐。

自从2000年以来拥有自主知识产权国家专利项国家专利发明40多项, 另有4项发明专利授权。并获得政府科技发展项目奖励和科技成果新产品,尤其,近年以来经在本公司技术部与西北工业大学,浙江大学等高校,机械研究所及外企等进行战略合作或协作下通过高科技创新,难题攻关,对传统胶体磨进行大幅度改造取得了突破性成果。通过ISO9001-2000国际质量管理体系认证、产品执行企业标准Q/WHX01 ;Q/WHX 02; Q/WHX03; Q/WHX04和国家标准GB/T14466-2005(企业参与修订),荣获国家质量检测合格证书,质量检验稳定合格产品、“浙江省科技成果证书”“国家专利技术奖一等奖”、“国家科学技术成果进步奖二等奖”、中国食品与包装机械行业诚信单位、联蝉温州机电行业创新型科技企业、明星企业家等称号。
公司注重高科技创新投入力度,率先研制成功第四代低温胶体磨为笫四代新型胶体研磨机,该系统以制冷源为间接媒源与介质无任何接触,被粉碎物料通过冷却在低温下状态后,进入机械粉碎机腔体内通过胶体研磨轮(定子和转子)相对高速旋转,物料与叶片,齿盘,物料与物料之间的相互反复冲击,碰撞,剪切,混合、搅拌、乳化、均质、研磨、摩擦等综合作用下,达到超微粒粉碎的理想效果。
低温胶体磨系统在物料粉碎过程中,其冷源形成一个闭路循环系统,使能源得到充分利用,节省能耗:在研磨粉碎时,处理的物料(固液混合物)在冷源温度调节下长期保持至温度0-25度的低温24小时连续运行,根据物料的特性温度,在低温胶体磨的研磨粉碎过程中其温度可调控,选择##粉碎温度,降低能耗,粉碎细度可达到10-700目,甚至达到微米μ等细度,区别于低温粉碎机采用液氮冷源加注到介质直接进行冷冻,本设备优点:使用冷却液等冷源不与研磨介质接触,只作为间接冷却媒体,实现超低温粉碎,物料的防爆,防氧化而不污染物料等综合效果,而被粉碎后的物料保持着原生状态。

新型胶体磨成套设备:白炭黑胶体磨,多功能管线式钛白粉研磨机,钛白粉用微细连续胶体磨,超硬质合金钢研磨泵,多功能高剪切均质研磨机组,钛白炭黑湿式超微粒后处理成套设备,全自动水粉混合乳化研磨涂料成套设备等制胶设备,高效料液混合成套工程设备,分散乳化均质胶体磨等产品均获发明专利,是专门为钛白浆粉、炭黑等胶体溶液、制胶生产所设计。多功能管线式钛白粉研磨机于2011年获政府科技发展项目,钛白粉用微细连续胶体磨于2013年获浙江省科技成果新产品和2014年申报国家科技创新技术性能处于国内外###的水平,机器的线速度很高,物料经磨头的定转子被制成特殊圆椎形分散、剪切、乳化、解聚、混合、研磨的作用时,精细度递升的三四级锯齿突起和凹槽其间隙可调节到非常小,形成的摩擦力就比较剧烈,超微精细,具有泵输送功能可在线连接自动一体化控制模块满足不同行业的多种要求。该类型设备是目前国内##代替进口研磨机或砂磨机销减投资成本而成功应用于钛渣制取钛白、研磨制备高档活性钛白-二氧化钛、白炭黑-二氧化硅、阻燃材料、涂层、消光剂、高性能纤维、氧化锌等浆料胶体新工艺流程上深加工湿法后处理制备使用。
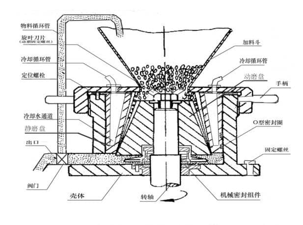
CN.HAOSTAR胶体磨系列可根据用户的特殊要求提供多功能的可空转式运作,机封与介质绝无接触,机械密封使用寿更长的新一代卫生级可空转式胶体磨(中国专利ZL2006200759997多功能研磨机)权利要求以及根据胶体磨工作原理及其应用研制了200420054127.3发明权利要求书: 1、一种封闭式胶体磨,包括有电机、机体、转轴、静磨体、动磨体及进料斗,其中电机和静磨体固定设在机体上,动磨体固定连接在转轴上,并与静磨体相匹配,其特征在于:所述的进料斗(6)的开口端设置有密封(7),密封盖(7)通过连接件与进料斗(6)的开口端密封配合,密封盖(7)上设置有至少一个视镜(71)。2、根据权利要求1所述的一种封闭式胶体磨,其特征在于:所述的密封盖(7)上设置有至一个回流进料口(72)。3、根据权利要求1所述的一种封闭式胶体磨,其特征在于:所述的进料斗(6)外围上设置有至少一个回流进料口(72)。4、根据权利要求2所述的一种封闭式胶体磨,其特征在于:所述的回流进料口(72)上连接有回流循环管(8),在回流进料口(72)与回流循环管(8)连接的位置设有波纹补偿器(81)。5、根据权利要求3所述的一种封闭式胶体磨,其特征在于:所述的回流进料口(72)上连接有回流循环管(8),在回流进料口(72)与回流循环管(8)连接的部位设置有波纹补偿器(81)。
因此本发明的胶体磨的结构具有全封闭式循环回流系统,使物料在密闭的环境中进行多功能研磨、乳化、均质、粉碎、分散、搅拌、混合的加工。该机器封闭性能良好,防止挥发性、易燃性、易爆性、高卫生及可在真空条件要求下工作等特点,特别适用于:香精、香料、医药、药物、石油、化工、精细化工、生物制剂、植物蛋白、动物蛋白、啤酒、食品、钛业、釉彩、防水阻燃材料、炭黑、高校,科研实验室等领域行业使用。从而达到防爆防燃、防止加工物料有效成份的挥发或刺激工作环境和确保物料的品质纯正。可以使加工的物料有效得到多循环的处理而达到理想的效果,封闭式胶体磨还配备了多项功能装置亦可使调节盘灵活地调节机器的间距乳化细度和预防膨胀、平衡容器内部的压力、机器可以缺料空转等多种功能。因此,其特点全封闭性能好,防火防爆,防泄漏、可空转、操作方便,卫生环保,节能高效和使用寿命长,是更先进的胶体磨。

昊星胶体磨可干湿两用粉碎机器:大米磨浆机-乳化胶体磨、胶体泵、胶磨机、打浆泵、管线式高速胶体磨采用连续高速研磨工艺,管线式(管道)管路轴向进料和液压出料,磨盘间隙可调节、设备分大型、中型和试验型可以满足广大用户不同层次流程需要##产品,科技成果,品质卓越,性价比高,值得拥有。
是目前大米磨浆行业中一种具有国际###技术水平的新型磨浆设备。这种设备的发明改变了米制品行业中磨浆设备磨而不细和无法控制出料细度的现状,完全取代了如砂轮机、石磨、小型打浆机此类原始磨浆设备,并且可以依据用户的不同需求来调整大米出料细度。
主要结构:大米湿法粉碎机是CN.HAOSTAR公可专门为大米湿法粉碎而开发研制的具有科技含量高,设备先进,安全可靠的新型磨浆设备。CN.HAOSTAR大米磨浆机的米料接触部分是由不锈钢304/316/抛光组成,转定子是由优质不锈钢或合金钢加工中心精制加工后淬火而成,并且迖到耐磨耐腐抗冲击,转定子的工作腔是由犬牙交错、凹凸不平的几千颗粉碎牙齿精密排列而成,并且可根据物料性能及要求调节转定子距离为0-2mm,确保出料的细度要求。
电池搅拌分散成套设备:分散均质研磨罐[单机型]高剪切乳化均质研磨罐(悬乳液制剂、制胶设备)是多功能乳化均质研磨机组由乳化研磨罐、混合调配罐、高剪切分散乳化机、研磨机、均质机、搅拌机、温控、自动控制模块系统等一体化多功能组合成湿法分散、混合、乳化、均质、研磨的装备。
工作原理: 本系统由乳化均质机、管线式研磨机(研磨泵)及电子控制柜等设备相合为全自动设备.是通过均质机和管线式研磨机的单道或多道回流工序到单罐的反复连续运行而自动进行超微粒研磨,高剪切均质、破碎、分散、混合、搅拌等在线运行,并且可以通过控制阀门操控在线管道中物料流向使加工的液料在乳化研磨罐与混合调配罐罐体(夹层内胆可通冷、热导体进行加热、冷凝作用;不锈钢罐体内外壁作抛处理)之间互相运作循环及搅拌机的搅拌器低速搅拌和超高速分散相结合的工作机理可使多种物料配者分级分散出料、搅料均匀、分散、乳化、研磨、混合、粉碎、搅拌等操控来实行直接出料提高机械化生产, 并通过温控仪、电控柜组成一体化,智能自动化组合。
胶体磨研磨头的经过强化处理或表面涂上了一层极其坚硬的合金钢硬质材料,从而使其表面具有非常粗糙的纹理得精密度提升。这种硬质材料是由碳化物、陶瓷等高质量物质构成,并且具有不同的粒径。研磨头处形成了一个具有强烈剪切的三至四级的乳化、均质、研磨、粉碎等多功能区域,所以, 机器叫做多功能胶体磨.可以输送高粘度和低粘度物料,但它的分散效果和##的粒径大小都比市面上传统胶体磨的效果更加理但它的分散效果和##的粒径大小都比一般胶体磨的效果更加得到理想的超微精细。这种胶体磨可干湿两用粉碎机器和研磨泵【研磨机】管线式胶体磨(中国专利ZL201020687068.9等发明

设备主要功能以多功能湿法处理流体、膏体的高速切割、剪切、分散、乳化、均质、搅拌、解聚、混合、研磨等超微粒粉碎功能特性,可代替进口同类设备并优于石磨,砂磨机、球磨机、乳匀机、剪切分散泵,均质乳化机、三辊机、组织捣碎机等工作效率。多功能胶体磨已形成“立式胶体磨系列、分体式胶体磨系列、卧式胶体磨系列、管线式胶体磨系列、全封闭式胶体磨系列、可空转干湿两用胶体磨系列、多级胶体磨系列、三层破碎胶体磨系列、研磨机泵系列”三百多种型号规格的胶体磨九大系列产品,给广大用户选购设备提供更大空间和余地,使设备资源得到更科学性、专业性和节能性的利用和配置,成功应用于菠萝、芦荟、仙人掌等果汁、饼馅、涂料、生化、制药、啤酒、动植蛋白深加工、淀粉、胶粘剂、聚氨酯、陶瓷、沥青、钛白、白炭黑、耐火阻燃、贵金属回收及新材料生产和研究等领域。特别是我们##推出的小型胶体磨(实验室专用的实验设备)、管线式钛白粉胶体磨-白炭黑胶体磨-多功能研磨机,研磨机专利ZL2006200759997等10多项专利技术和科技成果新产品新型胶体磨、封闭式胶体磨、可空转胶体磨、管线式研磨机泵系列等产品,国内首创,已被全国各地3000家战略合作企业及高等院校重点实验室、科研所的采用和实用性推广,并得到广大专家的好评。比如采购设备单位:清华大学科技园、山东大学、山东农业大学、河北省农业大学、上海医科大学、首都医科大学、南京医科大学、武汉化工学院、武汉理工大学、北京友谊医院、上海华宝孔雀香精香料有限公司、重庆亚原生物技术公司、菲律宾国际制药公司、韩国宇星株式会社、韩国庄起产业、GFP Limited(坦桑尼亚)、瑞驰医药、一九单位07研究所、沈阳强力陶瓷有限公司、沈阳市合家乐陶瓷有限公司、发达陶瓷有限公司、东佳集团、南京钛白化工、兴茂钛业、豪普钛业、攀钢集团重庆钛业股份有限公司、湖北兴盛陶瓷有限公司、南海霸力化工制品有限公司、强林生物能源材料、浩通新材料科技股份、华宇炭黑、中国橡胶集团特种新材料、苏州海翔塑业、巴斯伏阻燃新材料以及攀枝花、高安、闽清、平顶山、法库淄博、景德镇及闽清县等地陶瓷城厂家陶瓷釉彩,钒钛业、炭黑、涂层、消光、制胶、贵金属回收、纤维素、阻燃材料、生物能源等等新兴行业的精细加工后处理终端生产用户已遍布全球,产品畅销国内外市场。
使用范围
食品工业:芦荟,椰子原汁、菠萝浆、乳化猪皮、鸡骨泥、辣椒酱、芝麻、果茶、冰淇淋、月饼馅(饼馅)、奶油、果酱、果汁、大豆、豆酱、豆沙、花生奶、蛋白奶、豆奶、乳制品,麦乳精、香精、调味品、啤酒、植物蛋白、动物蛋白及各种食品饮料等。化学工业:油漆、颜料、染料、涂料、润滑油、合成脂、润滑脂、柴油、石油催化剂、乳化沥青、胶粘剂、洗涤剂、塑料、##胶、玻璃钢、合成革、皮革等乳化。日用化工:牙膏、洗涤剂、洗发精、鞋油、##化妆品、沐浴精、肥皂及香脂等。医药工业:各型糖浆、营养液、中成药、膏状药剂、生物制品、鱼肝油、花粉、蜂皇浆、疫苗、各种药膏、各种口服液、针剂及静滴液等。建筑工业:各种涂料。包括内外墙涂料、防腐防水涂料、壁纸涂层、布业涂层、冷瓷涂料、多彩涂料、陶瓷釉料及喷涂等。其它工业:塑料工业、纺织工业、造纸工业、钛白工业、阻燃材料、制胶、炭黑、煤炭浮选剂、稀土、纳米材料、陶瓷釉彩,钒钛业、炭黑、涂层、消光、制胶、贵金属回收、纤维素、阻燃材料、生物能源、固废垃圾、粪便废水处理及军工等新材料领域。
胶体磨工作原理及其应用:
工作原理
昊星多功能胶体磨的基本工作原理是剪切、研磨及高速搅拌作用力,粉碎研磨依靠磨盘齿形斜面的相对运动而成,其中一个高速旋转,另一个静止使物料通过齿形斜面之间的物料受到极大的高速剪切力和摩擦力,同时又在高频震动和高速旋涡等复杂力的作用下使流体或半流体物料通过二级,三级,四级的锥形磨体粗中细不同斜齿槽相对超微米级间隙中进行高速、挤碾、高剪切、打浆、搅拌、研磨、乳化、粉碎、混合、分散、破壁、包膜和均质,从而得到精细超微粒粉碎的较高效果。
机器特点
昊星胶体磨系列多项专利产品:具有设计紧凑、实用新型,外形美观、密封良好、性能稳定、操作方便、装修简单、经久耐用、适应范围广、生产效益高等特点、是处理精Υ细物料*理想的加工设备。
胶体磨产品除电机及部分零部件外,凡与物料相接触的零部件全部采用高强度不锈钢制成,尤其,关健的动、静磨盘进行强化处理因此,具有良好的耐腐性和耐磨性,使所加工的物料无污染卫生纯洁。也可按用户特殊要求可以另行定制。
安装方式
昊星胶体磨运作平稳、震动轻微,可根据生产使用需要置于水平线平整地面上,或安装在水泥基础上。为了方便用户的生产使用,各型胶体磨的底层座均设有安装孔,立式胶体磨安装尺寸见图七、卧式胶体磨-单机型(卧式胶体磨-整机型、管线式研磨泵,另说明)安装尺寸见图八。机器连接方式:采用漏斗(加料斗)式或管道连接式。 立式胶体磨系列安装图(略)卧式胶体磨(单机型)系列安装图(特大型,略);管线式安装图(略)
使用操作方法
1、联接好进料斗或进料管及出料口,再接上出料循环管,然后接通冷却水和排漏管(无冷却系统例外)。
2、安装好电力启动装置,(若有条件的用户可配上电流表及指示灯或变频器等)接好电源后,特别要注意开机运转方向,判别电机是否正常方向旋转,或从进料管径处看方向是否同胶体磨上‘红色警示标志'旋转方向箭头相一致顺转。####禁止空转(腔内缺料液)和反转。
3、在胶体磨出厂时,设备出料口方块上已装有调好的限位螺丝,磨盘间隙处于##加工细度间距。调节磨盘间隙,先将出料口方块上限位螺丝松下,在不开机的情况下将调节盘(刻度盘)上两手柄‘逆时针'拧松,然后‘顺时针'转动调节盘,当转动调节盘感到有少许阻力时马上停止,此时调节盘上刻度对准体上指针的读数确定了动、静磨盘间隙为‘0'。但刻度盘圈上的读数数字要记住,这个数不是0度而磨盘的间为‘0',再反转(逆时针)调节盘几圈使动、静磨盘之间隙略大于0。调节盘的刻度每进退一大格为0.01mm 。一般在满足加工物料细度要求的情况下,尽可能使磨盘间隙保持一定间距,同时把手柄将调节盘锁紧,然后将进料口方块上限位螺丝调好,确保机器正常运作。
4、接通冷却水后,注入1~2Kg左右的液料或其它与加工物料相关液体,并将湿料保持在经过循环管回流状态。然后才可启动胶体磨,待运转正常后立即投料入胶体磨中加工生产,而可空转式胶体磨亦可免此项。
5、关机之前,进料斗内加入或腔内留有适量水液或其它与加工物料相关液体,并将湿料保持在经过循环管回流状态。开机时也要保持料斗内有一定量的湿料可回流状态并马上投入物料,否则会损伤硬质组合密封件甚至造成泄漏烧毁电机。
6、加工物料注意电机负荷,发现过载要减少投料。
7、胶体磨在动作中,绝不许关闭出料阀门,以免磨腔内压力过高而引起泄漏。
8、胶体磨属高精密机械,磨盘间隙极少,动转速度快。操作人员应严守岗位,按规章作业,发现故障及时停机,排除故障后再生产。
9、胶体磨使用后,应彻底消毒、清洗机体内部,勿使物料残留在体内,以免硬质机械粘结而损坏机器。
维护修理方法
1、昊星CN.HaoStar胶体磨为高精密机械,线速高达50m/s以上,动磨盘和静磨盘间隙极小精细。所以, 检修后装回必须用百分表校正壳体与主轴的同轴度误差≤0.05mm。
2、修理机器时,在拆开、装回调整过程中,绝不许用铁锺直接敲击。应用木锤或垫上木块轻轻敲击,以免损坏零部件。
3、本机密封件:分为静、动密封。静密封采用O型橡胶圈、动密封采用硬质机械组合式密封。发现硬质密封面有划伤应立即在平板玻璃或平板铸件上进行研磨修复,研磨料为≥200#碳化硅研磨膏为佳。若密封件破损或裂痕严重请立即更换。
4、在使用过程中应根据加工物料情况,酌情进行定期维护。
5、有关电机的维护使用,请参照电机使用说明书。
6、随机备件绝大部都为国家标准、国际标准、部局标准、行业标准和企业标准件。
机器结构
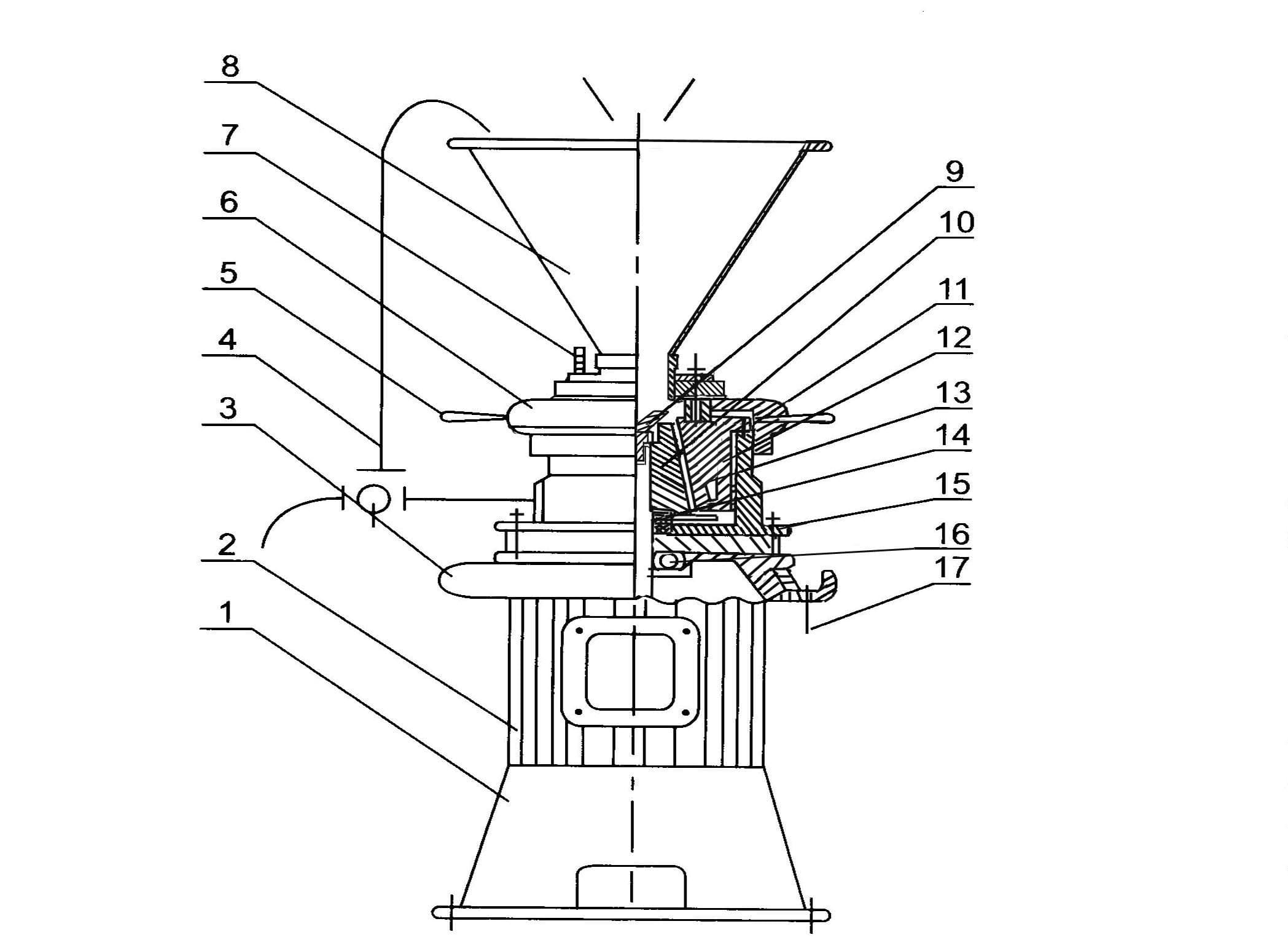
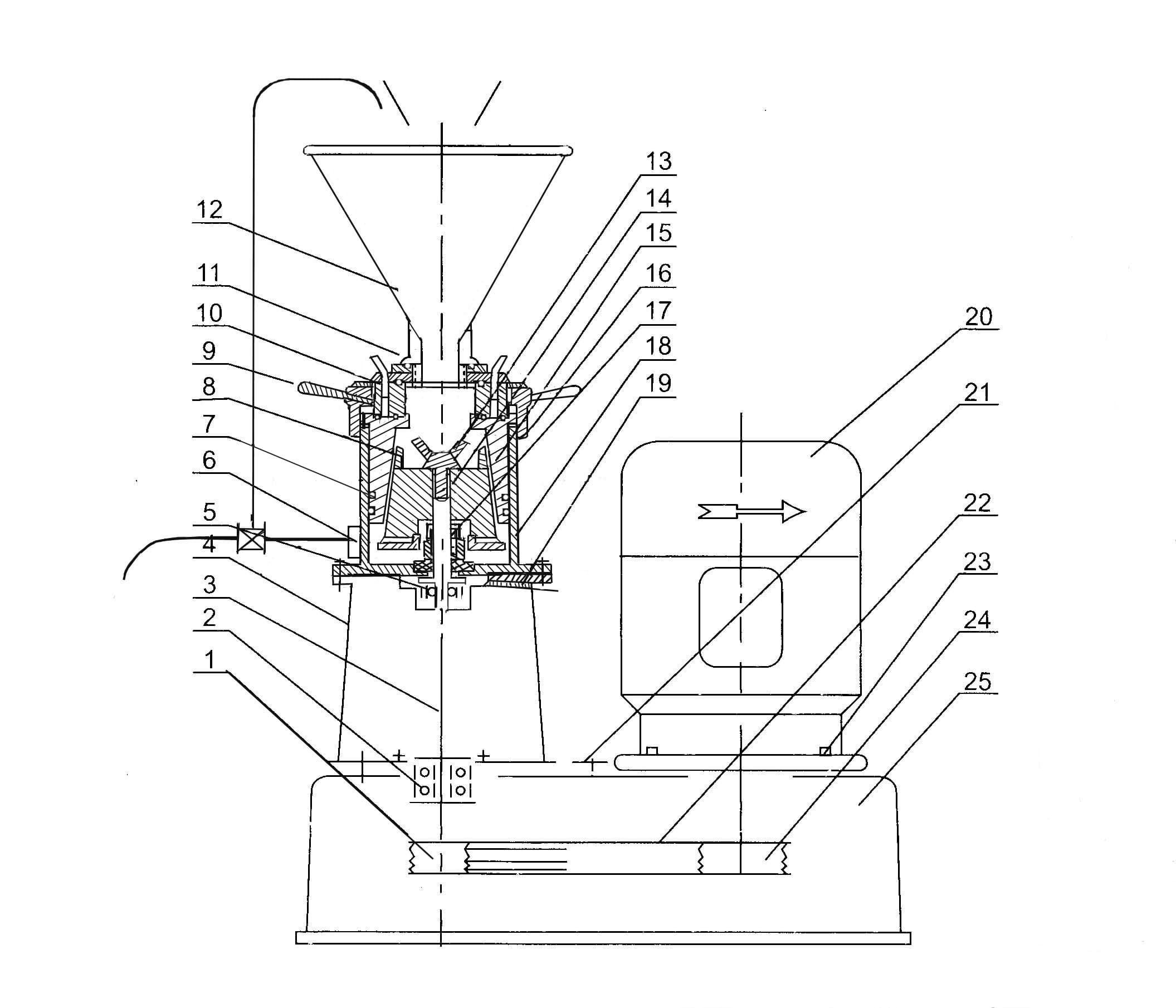
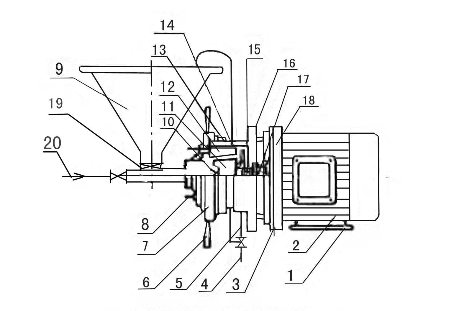
昊星胶体磨其主要构造由磨头[动磨盘和静磨盘]、底座传动部;专用电机、转轴、机械密封、静密封件、冷却系统、回流循环系统、加料斗、阀门、出料口、进料口、支架、皮带和等部分组成。其中机器核心部分的动磨盘与静磨盘、机械密封件组合部位系是本机的*关健部分。所以,根据被处理的物料性质不同选型必须有所区别。但材质均由优质不锈钢SUS304,304L;SUS316L或钢铁、合金及特殊材料制造而成。电机根据型号不同需要作特殊设计,在电机凸缘端加装挡水盘,以防渗漏。小型胶体磨结构见图一、立式胶体磨(又称连体式胶体磨)图二,分体式胶体磨(傍连体式胶体磨)结构图三,卧式胶体磨结构图四、封闭式胶体磨(全封闭式结构)图五、管线式胶体磨(管线式研磨泵)彩图附后。
|
|
|
|
小型胶体磨系列(实验室专用机)结构 图一
|
立式胶体磨系列结构 图二 |
|
|
|
|
分体式胶体磨系列结构 图三 |
卧式胶体磨-整机型 系列结构 图四 19.管路 20.液体进口 |
封闭式胶体磨(全封闭式结构)图五

(产品获得国家知识产权局ZL2004200541273等4项专利证书)
封闭式胶体磨系列结构 图六
1. 进料口 2.循环管 3.冷却水管接头 4.旋叶刀 5.手柄 6.静磨盘 7. O型圈
8。出料口9.动磨盘10.主体机架 11.底座 12.端盖 13.壳体 14.主轴
15.料斗16.封闭盖 17.视镜
附1:管线式钛白炭黑胶体研磨机系列和新型胶体磨整套机组(钛白炭黑研磨后处理设备主要包括进口,出口保护装置、过滤装置、补偿器、冷却水泵循环系统和电器控制模块组成为自动一体化成套设备)拥有ZL200420054127.3、ZJ201020687068.9、ZL200620075999.7、ZL 201020608706.3等20多项国家专利发明,##高科技项目产品。
[ 编者]按: CN.HAOSTAR多功能胶体磨是一种系统工程、产品机型品种多、规格齐全,简称:胶体磨,英文学名COLLOID MILL; COLLOIDAL MILL 中文拼音JIAOTIMO(研磨机GRINDIND MACHINE )胶体磨企业标准代号:JTM、JM、CM、JP、HS-A,B,C、SRH系列 ;胶体磨海关代码:84798200.90又名:竖式转锥磨机、竖式转圆锥磨机、斜锥磨机、湿法超微粒粉碎机,湿式粉碎机、胶磨机、研磨泵(管线式研磨泵)、万用磨浆机、高剪切乳化研磨机、多功能研磨机组、白炭黑胶体磨、钛白粉研磨机、管线式高速胶体磨、胶磨机、全封闭式胶体磨、高速研磨机、沥青胶体泵、研磨机泵、混料泵、垃圾粉泵、煤焦油胶体磨、酒糟胶体磨、重油乳化胶体磨、混合油研磨泵、大米碾磨浆机、高剪切多功能研磨机组等等及制胶的先进机械设备。